To the top of the document
Cruze
   
GMDE Start Page Load static TOC Load dynamic TOC Help?

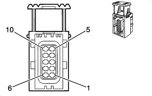
A23P Door Catch Assembly - Passenger


2173899

Connector Part Information

  • Harness: Passenger Door
  • OEM: 24414904
  • Service: 24414904
  • Description: 10-Way F 1.2 Timer Series, Sealed (BK)

Terminal Part Information

  • Terminated Lead: 13575366
  • Release Tool: J-38125-560
  • Diagnostic Test Probe: J-35616-14 (GN)

A23P Door Catch Assembly - Passenger

Pin

Wire

Circuit

Function

1

0.75 BN

5910

Door Double Lock Actuator Lock Control (RHD AF8 -SAE)

0.5 GY

746

Right Front Door Ajar Switch Signal (LHD AED)

0.5 GY

746

Right Front Door Ajar Switch Signal (LHD -AED)

2

0.75 GY

294

Door Lock Actuator Unlock Control (RHD -AF8)

0.75 GY

294

Door Lock Actuator Unlock Control (RHD AF8 -SAE)

0.5 GY/D-GN

3575

Co-Driver Door Open Switch Signal (LHD ATH)

3

0.75 GY

295

Door Lock Actuator Lock Control (RHD -AF8)

0.75 GY

295

Door Lock Actuator Lock Control (RHD AF8 -SAE)

0.75 BK

50

Ground (LHD)

0.75 BK

50

Ground (LHD ATH)

0.75 BK

50

Ground (ATH)

5

0.75 GY/BK

3579

Co-Driver Door Unlatch Motor Unlatch Return (RHD ATH)

0.75 YE/D-GN

3583

Co-Driver Door Unlatch Motor Unlatch Control (LHD ATH)

6

0.75 BN

5910

Door Double Lock Actuator Lock Control (LHD AF8 -SAE)

0.5 GY

746

Right Front Door Ajar Switch Signal (RHD AED)

0.5 GY

746

Right Front Door Ajar Switch Signal (RHD -AED)

7

0.75 GY

294

Door Lock Actuator Unlock Control (LHD -AF8)

0.75 GY

294

Door Lock Actuator Unlock Control (LHD AF8 -SAE)

0.5 GY/D-GN

3575

Co-Driver Door Open Switch Signal (RHD ATH)

8

0.75 GY

295

Door Lock Actuator Lock Control (LHD -AF8)

0.75 GY

295

Door Lock Actuator Lock Control (LHD AF8 -SAE)

0.75 BK

50

Ground (RHD)

0.75 BK

50

Ground (ATH)

0.75 BK

50

Ground (RHD ATH)

10

0.75 YE/D-GN

3583

Co Driver Door Unlatch Motor Unlatch Control (RHD ATH)

0.75 GY/BK

3579

Co Driver Door Unlatch Motor Unlatch Return (LHD ATH)

   


© Copyright Chevrolet. All rights reserved