To the top of the document
Cruze
   
GMDE Start Page Load static TOC Load dynamic TOC Help?

Exhaust Camshaft Gear Removal

Special Tools

    • EN-956-1 Extension
    • EN-6347 Holding Tool

For equivalent regional tools, Refer to Special Tools : 1.6L LXT .


    2373257

    Note: A second technician is required.

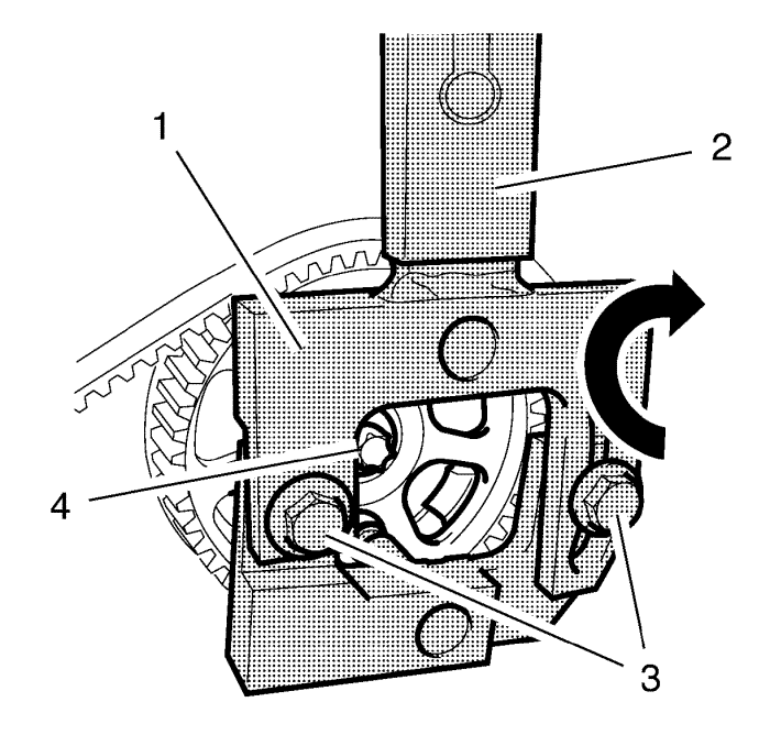
  1. Install the EN-6347 holding tool (1) and the EN-956-1 extension (2) in the exhaust camshaft gear.
  2. Loosen the locking bolts (3) from EN-6347 holding tool .
  3. Note: The grooves of EN-6347 holding tool must locate in the camshaft gear. Check for correct seating.

  4. Tighten the 2 locking bolts (3).
  5. Loosen the exhaust camshaft gear bolt (4) while holding the exhaust camshaft gear with EN-6347 holding tool .
  6. Remove the EN-6347 holding tool and the EN-956-1 extension from the exhaust camshaft sprocket.
  7. Remove the exhaust camshaft gear bolt (4).
  8. Remove the exhaust camshaft gear.
  9. Repeat the procedure at the inlet camshaft gear.
   


© Copyright Chevrolet. All rights reserved