To the top of the document
Cruze
   
GMDE Start Page Load static TOC Load dynamic TOC Help?

Exhaust Manifold Replacement - 1.6L LXT,L2W

Removal Procedure

Warning: Refer to Hot Exhaust System Warning in the Preface section.

Warning: Refer to Protective Goggles and Glove Warning in the Preface section.

  1. Open bonnet.
  2. Remove the engine sight shield. Refer to Engine Sight Shield Replacement .

  3. 2189100
  4. Disconnect the heated oxygen sensor wiring harness plug (1).
  5. Remove the exhaust manifold heat shield. Refer to Exhaust Manifold Heat Shield Replacement : 2.0L Diesel LNP → 1.4L LUH and LUJ → 1.6L LDE, LXV, 1.8L 2H0, and LUW → 2.0L Diesel LLW .

  6. 2189099
  7. Remove the 3 catalytic converter nuts (1).
  8. Raise the vehicle by its full height. Refer to Lifting and Jacking the Vehicle .
  9. Remove the exhaust flexible pipe. Refer to Exhaust Flexible Pipe Replacement : 2.0L Diesel LLW .

  10. 2189058
  11. Remove the 3 catalytic converter lower nuts (5).
  12. Remove the catalytic converter bracket bolt (3).
  13. Remove the catalytic converter bracket (4).

  14. 2189099
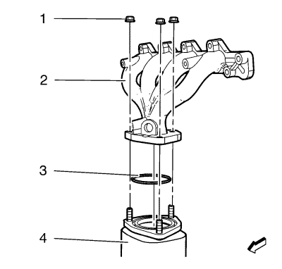
  15. Remove the catalytic converter (4).
  16. Remove the catalytic converter upper gasket.
  17. Lower the vehicle full height.

  18. 2188849
  19. Loosen the 10 exhaust manifold nuts in a sequence as in the graphic shown.

  20. 2188847
  21. Remove and DISCARD the engine lift bracket nut (4).
  22. Remove the engine lift bracket (1).
  23. Remove the exhaust manifold (2).
  24. Remove and DISCARD the 9 exhaust manifold nuts .
  25. Remove the exhaust manifold gasket (3).

Installation Procedure


    2188847

    Note: Ensure that the exhaust manifold and cylinder head surface is clear of old gasket material.

  1. Install a NEW exhaust manifold gasket (3).
  2. Install the exhaust manifold (2).
  3. Install the engine lift bracket (1).
  4. Caution: Refer to Fastener Caution in the Preface section.

    Caution: Refer to Torque-to-Yield Fastener Caution in the Preface section.

  5. Install a NEW engine lift bracket nut (4) and tighten to 25N·m (18 lb ft)in the sequence as shown in the graphic below.

  6. 2188850
  7. Install 9 NEW exhaust manifold nuts in the sequence as shown in the graphic and tighten to 22N·m (17 lb ft)..
  8. Raise the vehicle full height.

  9. 2189099
  10. Install a NEW catalytic converter upper gasket.
  11. Install the catalytic converter (4).

  12. 2189058
  13. Install the catalytic converter bracket (4).
  14. Install the 3 catalytic converter lower nuts (5) and tighten to 50 N·m (37 lb ft)..
  15. Install the catalytic converter bracket bolt (3) and tighten to 50 N·m (37 lb ft)..
  16. Install the exhaust flexible pipe. Refer to Exhaust Flexible Pipe Replacement : 2.0L Diesel LLW .
  17. Lower the vehicle full height.

  18. 2189099
  19. Install 3 NEW catalytic converter nuts (1) and tighten to and tighten to 40 N·m(30 lb ft).
  20. Install the exhaust manifold heat shield. Refer to Exhaust Manifold Heat Shield Replacement : 2.0L Diesel LNP → 1.4L LUH and LUJ → 1.6L LDE, LXV, 1.8L 2H0, and LUW → 2.0L Diesel LLW .

  21. 2189100
  22. Connect the heated oxygen sensor wiring harness plug (1).
  23. Install the engine sight shield. Refer to Engine Sight Shield Replacement .
  24. Close the bonnet.
   


© Copyright Chevrolet. All rights reserved