Cruze |
||||||||
|
|
|
|||||||
| Table 1: | Transmission Case Inspection |
| Table 2: | Gear Inspection |
| Table 3: | Thrust Washer Inspection |
| Table 4: | Bearing Inspection |
| Table 5: | Gear Synchroniser Cleaning and Inspection |
| Table 6: | Selector Fork Assembly Inspection |
| Table 7: | Selector Control Housing Cleaning and Inspection |
Callout | Component Name | ||||||||||
|---|---|---|---|---|---|---|---|---|---|---|---|
Preliminary Procedure
| |||||||||||
1 | Transmission Case | ||||||||||
2 | Clutch and Differential Housing | ||||||||||
Callout | Component Name | ||||
|---|---|---|---|---|---|
Preliminary Procedure
| |||||
1 | Gear | ||||
Callout | Component Name | ||||
|---|---|---|---|---|---|
Preliminary Procedure
| |||||
1 | Thrust Washer | ||||
Callout | Component Name | ||||||||||||
|---|---|---|---|---|---|---|---|---|---|---|---|---|---|
Preliminary Procedure
Do not allow the bearings to spin. Turn the bearings slowly by hand. Spinning bearings may cause damage to the rollers. | |||||||||||||
1 | Gear | ||||||||||||
2 | Thrust Bearing | ||||||||||||
3 | Roller Bearing | ||||||||||||
4 | Needle Bearing | ||||||||||||
5 | Taper Roller Bearing | ||||||||||||
Callout | Component Name | ||||||||||||||||
|---|---|---|---|---|---|---|---|---|---|---|---|---|---|---|---|---|---|
Preliminary Procedure
Do not allow the bearings to spin. Turn the bearings slowly by hand. Spinning bearings may cause damage to the rollers. | |||||||||||||||||
1 | Gear Synchroniser | ||||||||||||||||
Callout | Component Name | ||||
|---|---|---|---|---|---|
Preliminary Procedure
| |||||
1 | Selector Fork Assembly | ||||
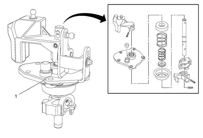
Callout | Component Name | ||||
|---|---|---|---|---|---|
Preliminary Procedure
| |||||
1 | Shift Control Housing | ||||
| © Copyright Chevrolet. All rights reserved |