To the top of the document
Cruze
   
GMDE Start Page Load static TOC Load dynamic TOC Help?

Crankshaft and Bearing Removal


    1948709
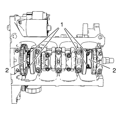
  1. Identify all the big end bearing caps (1).

  2. 2188804
  3. Remove the big end bearing cap bolts (1) from the big end bearing caps 1 and 4.
  4. Remove the big end bearing caps 1 and 4 (2).
  5. Turn the crankshaft through 180°.

  6. 2188803
  7. Remove the big end bearing cap bolts (1) from the big end bearing caps 2 and 3.
  8. Remove the big end bearing caps 2 and 3 (2).
  9. Identify the crankshaft bearing caps.

  10. 2188806
  11. Remove the 10 crankshaft bearing cap bolts (1).
  12. Remove the crankshaft bearing caps (2).
  13. Remove the crankshaft bearings (3).
  14. Remove the crankshaft.
   


© Copyright Chevrolet. All rights reserved