To the top of the document
Cruze
   
GMDE Start Page Load static TOC Load dynamic TOC Help?

Windscreen Wiper Blade Replacement - Complete Assembly


2027126

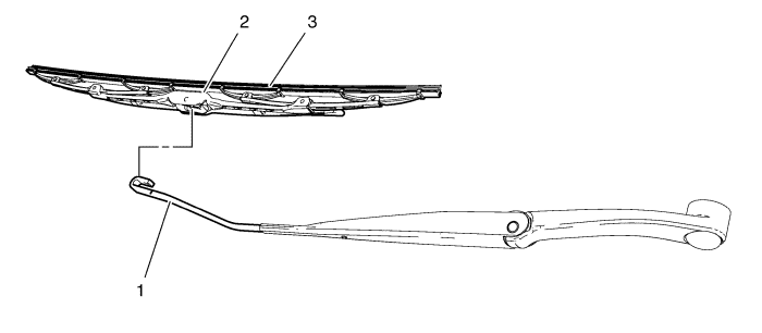
Callout

Component Name

Preliminary Procedures

Raise the wiper arm up off the windscreen.

1

Windscreen Washer Arm

2

Windscreen Wiper Arm Blade Removal Tab

Procedure

  1. Push inward the square tab at the centre top side of the wiper blade.
  2. Rotate the wiper blade downward slightly.
  3. Slide the wiper blade from the wiper arm.
  4. Carefully release the wiper arm back to the windscreen.

3

Windshield Washer Blade

   


© Copyright Chevrolet. All rights reserved