Cruze |
||||||||
|
|
|
|||||||
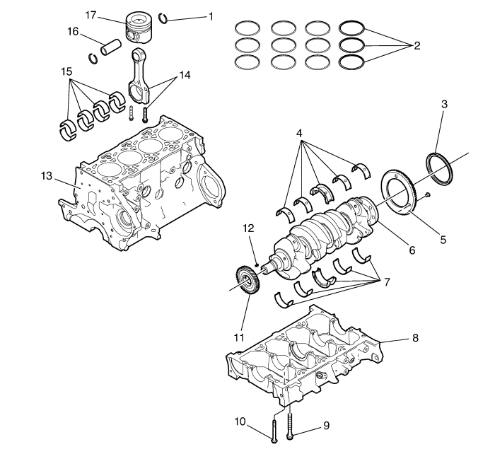
| (1) | Gudgeon pin Retainer |
| (2) | Piston Ring Set |
| (3) | Crankshaft Rear Oil Seal |
| (4) | Crankshaft Upper Bearing |
| (5) | Crankshaft Position Sensor Inner Exciter Ring |
| (6) | Crankshaft |
| (7) | Crankshaft Lower Bearing |
| (8) | Lower Crankcase |
| (9) | Internal Lower Crankcase Bolt |
| (10) | Outside Lower Crankcase Bolt |
| (11) | Crankshaft Gear |
| (12) | Crankshaft Gear Key |
| (13) | Engine Block |
| (14) | Connecting Rod And Bolt |
| (15) | Big end bearing |
| (16) | Gudgeon pin |
| (17) | Piston |
| © Copyright Chevrolet. All rights reserved |