Cruze |
||||||||
|
|
|
|||||||
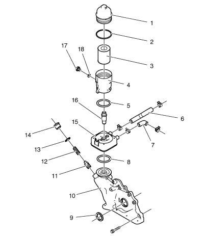
| (1) | Oil Filter Cap |
| (2) | O-Ring |
| (3) | Oil Filter |
| (4) | Oil Filter Housing |
| (5) | O-Ring |
| (6) | Oil Cooler Outlet Hose |
| (7) | Oil Cooler Inlet Hose |
| (8) | O-Ring |
| (9) | Crankshaft Front Oil Seal |
| (10) | Oil Pump Housing |
| (11) | Oil Pressure Relief Valve |
| (12) | Oil Pressure Relief Valve Spring |
| (13) | Oil Pressure Relief Valve Gasket |
| (14) | Oil Pressure Relief Valve Plug |
| (15) | Engine Oil Cooler |
| (16) | Oil Filter Fitting |
| (17) | Oil Filter Draining Plug |
| (18) | Oil Filter Draining Plug Washer |
| © Copyright Chevrolet. All rights reserved |