To the top of the document
Cruze
   
GMDE Start Page Load static TOC Load dynamic TOC Help?

Engine Coolant Thermostat Housing Installation

    Caution: Refer to Engine Coolant Thermostat Housing Caution in the Preface section.

  1. Clean sealing surface.
  2. Install a NEW engine coolant thermostat housing seal.

  3. 2026832
  4. Install the engine coolant thermostat housing (2).
  5. Caution: Refer to Fastener Caution in the Preface section.

    Note: Screw in the 4 bolts until the engine coolant thermostat housing is in contact with the cylinder head.

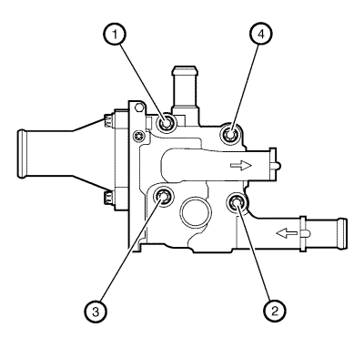
  6. Install the 4 engine coolant thermostat housing bolts (3) and tighten to 2 N·m (18 lb in).

  7. 2028129

    Caution: Following the proper fastener tightening sequence and torque is essential. Failure to do so may fracture the thermostat housing.

  8. Tighten the 4 engine coolant thermostat housing bolts to 8 N·m (71 lb in) in sequence (1-2-3-4).

  9. 2026832
  10. Install the engine coolant thermostat housing retainer (1).
  11. Install the engine coolant thermostat housing retainer nut (4) and tighten to 6 N·m (53 lb in).
   


© Copyright Chevrolet. All rights reserved