To the top of the document
Cruze
   
GMDE Start Page Load static TOC Load dynamic TOC Help?

Water Pump Inlet Pipe Removal


    2027779
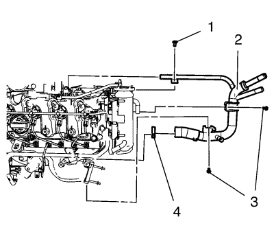
  1. Remove the hose clamp (4).
  2. Remove the 3 bolts (1, 3).
  3. Remove the main coolant inlet pipe (2).
   


© Copyright Chevrolet. All rights reserved