To the top of the document
Cruze
   
GMDE Start Page Load static TOC Load dynamic TOC Help?

Radiator Mounting Stud Repair

Repair Procedure

    Note: If the radiator is leaky, replace it. Refer to Radiator Replacement : 2.0L Diesel LNP and MT → 2.0L Diesel LNP and AT → LDE, LLU, and LUJ with AT → 2.0L Diesel LLW → LDE, LXV,LUW, L2W, 2H0- AT → LDE, LXV LUW, L2W, 2H0 - MT → 1.6L LDE, LXT, LXV, 1.8L 2H0, and LUW .

  1. Pressure test the cooling system. Refer to Cooling System Leak Testing .

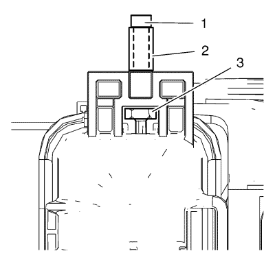
  2. 2028254
  3. Grind the fracture surface (1) with a proper tool.
  4. Drill a hole in the centre of the fractured surface, using a 6 mm (0.24 in) drill.

  5. 2028256
  6. Install the new radiator mounting pin (2).
  7. • Install the nut (3).

       Note: The bolt should not be longer than 35 mm (1.38 in).

    • Install the radiator mounting pin (2) with the bolt (1).

    Caution: Refer to Fastener Caution in the Preface section.

  8. Tighten the bolt 5 N·m (45 lb in).
   


© Copyright Chevrolet. All rights reserved