To the top of the document
Cruze
   
GMDE Start Page Load static TOC Load dynamic TOC Help?

Rear Disc Brake Mounting and Hardware Inspection

    Warning: Refer to Brake Dust Warning in the Preface section.

  1. Remove rear brake calliper bracket. Refer to Rear Brake Calliper Bracket Replacement .

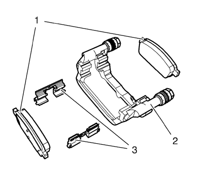
  2. 2028131
  3. Remove the disc brake calliper from the calliper mounting bracket (2).
  4. Remove the disc brake pads (1) from the calliper mounting bracket (2).
  5. Inspect the disc brake pad mounting hardware (3) for the following:
  6. • Missing mounting hardware.
    • Excessive corrosion.
    • Bent pad retainer spring.
    • Looseness at the brake calliper mounting bracket.
    • Looseness at the disc brake pads.
    • Excessive contaminants in the brake calliper mounting bracket surface and threads.
  7. If any of the conditions listed are found, the disc brake pad mounting hardware requires replacement.
  8. Ensure the disc brake pads are held firmly in place on the calliper mounting bracket, yet slide easily on the mounting hardware without binding.
  9. Install the disc brake pads to the calliper mounting bracket.
  10. Install the disc brake calliper to the mounting bracket.
  11. Install rear brake calliper bracket. Refer to Rear Brake Calliper Bracket Replacement .
   


© Copyright Chevrolet. All rights reserved