Cruze |
||||||||
|
|
|
|||||||
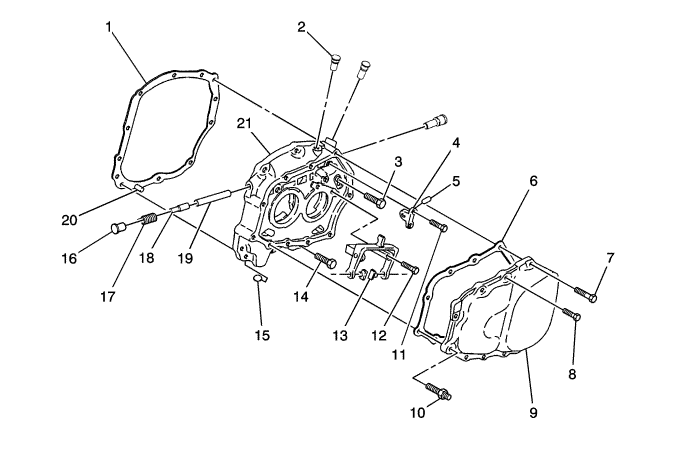
| (1) | Bearing Plate Gasket |
| (2) | Detent Sleeve |
| (3) | Bolt |
| (4) | Strain Bolt Bridge |
| (5) | Bolt |
| (6) | Transmission Cover Gasket |
| (7) | Bolt |
| (8) | Bolt |
| (9) | Transmission Cover |
| (10) | Screw |
| (11) | Bolt |
| (12) | Screw |
| (13) | Gear Shift Shoe |
| (14) | Bolt |
| (15) | Magnet |
| (16) | Plug |
| (17) | Compression Ring |
| (18) | Blocking Pin |
| (19) | Bolt |
| (20) | Pin |
| (21) | Bearing Plate |
| © Copyright Chevrolet. All rights reserved |