To the top of the document
Cruze
   
GMDE Start Page Load static TOC Load dynamic TOC Help?

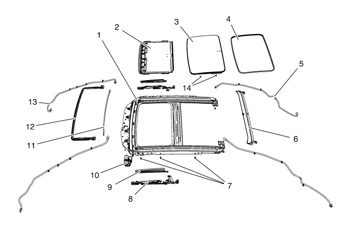
Sunroof Component Views

Sunroof


2027961
(1)Sunroof Frame
(2)Sunroof Sunshade
(3)Sunroof Window
(4)Sunroof Window Seal
(5)Sunroof Housing Rear Drain Hose
(6)Sunroof Housing Drain Gutter
(7)Sunroof Frame Bolts
(8)Sunroof Window Guide
(9)Sunroof Air Deflector Cover
(10)Sunroof Window Motor
(11)Sunroof Window Seal
(12)Sunroof Air Deflector
(13)Sunroof Housing Front Drain Hose
(14)Sunroof Window Bolts
   


© Copyright Chevrolet. All rights reserved