To the top of the document
Cruze
   
GMDE Start Page Load static TOC Load dynamic TOC Help?

Crankshaft and Bearing Cleaning and Inspection

Special Tools

    • EN-45059 Torque Angle Sensor Kit
    • GE-49449 Dial Gauge

For equivalent regional tools, refer to Special Tools .

Cleaning Procedure

  1. Clean the following components in solvent:
  2. • Crankshaft bearings
    • Big end bearings
    • Crankshaft journals
    • Crankpin journals
    • Crankshaft oil passages
    • Crankshaft threaded holes

    Warning: Refer to Safety Glasses and Compressed Air Warning in the Preface section.

  3. Dry the following components with compressed air:
  4. • Crankshaft bearings
    • Big end bearings
    • Crankshaft journals
    • Crankpin journals
    • Crankshaft oil passages
    • Crankshaft threaded holes

Visual Inspection


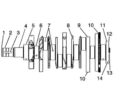
    1866878
  1. Perform the following visual inspections:
  2. • Inspect the crankshaft balancer bolt hole (1) for thread damage.
    • Inspect the crankshaft keyway (3) for damage.
    • Inspect the oil pump drive flats (4) for damage.
    • Inspect the crankshaft main journals (5) for damage.
    • Inspect the crankshaft connecting rod journals (6) for damage.
    • Inspect the crankshaft oil passages (7) for obstructions.
    • Inspect the crankshaft main bearing thrust wall surfaces (8) for damage.
    • Inspect the crankshaft counterweights (9) for damage.
    • Inspect the crankshaft position sensor inner excitor ring (10) for damage.
    • Inspect the crankshaft rear main oil seal surface (11) for damage.
    • Inspect the crankshaft engine flywheel mounting surface (12) for damage.
    • Inspect the crankshaft pilot hole (13) for damage.
    • Inspect the crankshaft engine flywheel bolt holes (14) for thread damage.
  3. Repair or replace the crankshaft as necessary.

Crankshaft and Bearing Inspection

  1. Inspect for fatigue indicated by craters or pockets. Flattened sections on the bearing halves also indicate fatigue.
  2. Inspect for excessive scoring or discolouration on both front and back of the bearing halves.
  3. Inspect the main bearings for dirt embedded into the bearing material.
  4. Inspect for improper seating indicated by bright, polished sections.

Crankshaft End Play, Check


    2028111

    Note : Crankshaft (2) attached with crankshaft bearing caps.

  1. Install the GE-49449 gauge (1)
  2. • Install in the holder on the front of the engine block.
    • Place the dial gauge plunger (1) against the crankshaft and adjust.
  3. Measure the longitudinal play of the crankshaft.
  4. • Move the crankshaft in the longitudinal direction.
    • Permissible crankshaft end play: 0.09-0.35 mm (0.0036-0.0138 in).
  5. Remove the GE-49449 gauge.

Crankshaft Out-of-Round, Check


    1948740

    Note: Crankshaft removed.

  1. Insert the crankshaft in the engine block.
  2. Install the GE-49449 gauge
  3. • Attach to the bracket on the engine block.
    • Place the dial gauge plunger against the crankshaft bearing journal and adjust.
  4. Check the rotational play of the crankshaft.
  5. • Turn the crankshaft evenly.
    • Maximum permissible rotational play: 0.03 mm (0.0012 in).
  6. Remove the GE-49449 gauge.

Check Crankshaft Bearing Clearance (With Plastigage)


    1936797
  1. Lay on a suitable plastigage.
  2. Lay out Plastigage (flexible plastic thread) around the entire width of the big end bearing journal (arrow).


    2027969
  3. Install the lower crankcase (1).
  4. Caution: Refer to Fastener Caution in the Preface section.

  5. Install the 10 lower crankcase bolts (1) in a sequence as in the graphic shown and tighten in three passes:
  6. 3.1. First pass in sequence to 25 N·m (19 lb ft).
    3.2. Second pass in sequence to an additional 45 degrees using the EN-45059 angle sensor.
    3.3. Third pass in sequence to an additional 90 degrees using the EN-45059 angle sensor.

    2027964

    Note: Do not rotate the crankshaft.

  7. Remove the 10 lower crankcase bolts in a sequence as in the graphic shown.
  8. Remove the lower crankcase (1).

  9. 2026854

    Note: When reading the value, do not confuse millimetres and inches on the measuring scale.

  10. Measure the crankshaft bearing play.
  11. • Compare the width of the flattened plastic thread (arrow) to the measuring scale.
    • Permissible crankshaft bearing play: 0.02-0.04 mm (0.001-0.003 in).

Check Crankshaft Bearing Clearance (With Micrometer Gauge Internal Measuring Device)

    Caution: Refer to Fastener Caution in the Preface section.

    Note: 

       • Crankshaft removed.
       • Consider the correct tightening sequence.

  1. Install the lower crankcase with the crankshaft bearings to the engine block.
  2. Caution: Refer to Fastener Caution in the Preface section.


    2027969
  3. Install the lower crankcase (1).
  4. Install the 10 lower crankcase bolts (1) in a sequence as in the graphic shown and tighten in three passes:
  5. 2.1. First pass in sequence to 25 N·m (19 lb ft).
    2.2. Second pass in sequence to an additional 45 degrees using the EN-45059 angle sensor.
    2.3. Third pass in sequence to an additional 90 degrees using the EN-45059 angle sensor.

    2026849
  6. Install the inner plunger and calibrate with the micrometer gauge (1).

  7. 2026850
  8. Measure the crankshaft bearing diameter at 3 points.
  9. Measure at points I, II and III with the internal measuring device.

    Calculate the average crankshaft bearing diameter.

    Formula: A+ B+ C /3.


    1935590
  10. Measure the crankshaft bearing journal diameter at 2 points.
  11. Measure at points I and II with the micrometer gauge.

  12. Calculate the average crankshaft bearing journal diameter.
  13. Formula: I + II/2.

  14. Determine the crankshaft bearing play.
  15. Calculation formula: average crankshaft bearing diameter minus average crankshaft bearing journal diameter.

  16. Nominal-Actual comparison.
  17. Permissible crankshaft bearing play: 0.02-0.04 mm (0.001-0.003 in).

   


© Copyright Chevrolet. All rights reserved