Cruze |
||||||||
|
|
|
|||||||
Callout | Component Name |
|---|---|
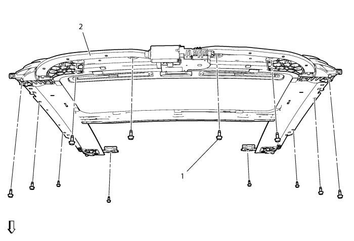
Preliminary ProceduresRemove the headlining trim panel. Refer to Headlining Trim Panel Replacement : Notchback 69 without Sunroof → Notchback 69 with Sunroof . | |
1 | Sunroof Module Bolt (Qty: 12) Caution: Refer to Fastener Caution in the Preface section. Tighten |
2 | Sunroof Module Assembly ProcedureA new sunroof module assembly does not include the sunroof window, the motor, the sunshade, or the finishing lace as components. You must install the old components to the new sunroof module assembly. |
| © Copyright Chevrolet. All rights reserved |