To the top of the document
Cruze
   
GMDE Start Page Load static TOC Load dynamic TOC Help?

Mass Airflow Sensor with Inlet Air Temperature Sensor Replacement

Removal Procedure

  1. Remove the air cleaner outlet front duct. Refer to Air Cleaner Outlet Front Duct Replacement .

  2. 1889700
  3. Disconnect the mass airflow sensor wiring harness plug (1) from mass airflow sensor (2).

  4. 2027510
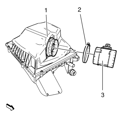
  5. Remove the mass airflow sensor clamp (2).
  6. Remove the mass airflow sensor (3) from the upper air cleaner housing (1).

Installation Procedure


    2027510
  1. Install the mass airflow sensor (3).
  2. Caution: Refer to Fastener Caution in the Preface section.

  3. Install the mass airflow sensor clamp (2) and tighten to 3.5 N·m(31 lb in).

  4. 1889700
  5. Connect the mass airflow sensor wiring harness plug (1).
  6. Install the air cleaner outlet front duct. Refer to Air Cleaner Outlet Front Duct Replacement
   


© Copyright Chevrolet. All rights reserved