To the top of the document
Cruze
   
GMDE Start Page Load static TOC Load dynamic TOC Help?

Windscreen Washer Pump Seal Replacement

Removal Procedure


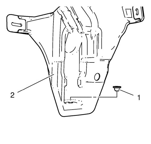
    2027564
  1. Open the bonnet.
  2. Remove the windscreen washer pump. Refer to Windscreen Washer Pump Replacement
  3. Using a small flat-bladed tool, remove the washer pump terminal seal (1) from the washer solvent container (2).

Installation Procedure


    2027564
  1. Position the washer pump terminal seal (1) to the washer solvent container (2), pressing in until fully seated.
  2. Install the windscreen washer pump. Refer to Windscreen Washer Pump Replacement
  3. Close the bonnet.
   


© Copyright Chevrolet. All rights reserved