To the top of the document
Cruze
   
GMDE Start Page Load static TOC Load dynamic TOC Help?

Splicing Copper Wire Using Splice Sleeves

Special Tools

    • EL-38125-10 Splice Sleeve Crimping Tool
    • J-38125-5A Ultra Torch Special Tool
    • J-38125-8 Splice Sleeve Crimping Tool
    • DuraSeal splice sleeves, in order to repair the SIR/SRS wiring

For equivalent regional tools, refer to Special Tools .

Note: Use only DuraSeal splice sleeves. Other splice sleeves may not protect the splice from moisture or provide a good electrical connection.

Use DuraSeal splice sleeves to form a one-to-one splice on all types of insulation, except Tefzel and coaxial. Use DuraSeal splice sleeves where there are special requirements such as moisture sealing. Follow the instructions below in order to splice copper wire using DuraSeal splice sleeves.

Splice Sleeve Colour

Crimp Tool Nest Colour

Wire gauge mm² / (AWG)

3 Crimp Nests

4 Crimp Nests

Salmon (Yellow-Pink)

19168446

Red (1) or Red/Green (1)

Red (2)

0.5-0.8/(18-20)

Blue

19168447

Blue (2)

Blue (3)

1.0-2.0/(14-16)

Yellow

19168448

Yellow (3)

Yellow (4)

3.0-5.0/(10-12)

    Note: You must perform the following procedures in the listed order. Repeat the procedure if any wire strands are damaged. You must obtain a clean strip with all of the wire strands intact.

  1. Open the harness by removing any tape:
  2. • Use a sewing seam ripper, available from sewing supply stores, in order to cut open the harness in order to avoid wire insulation damage.
    • Use the DuraSeal splice sleeves on all types of insulation except Tefzel and coaxial.
    • Do not use the crimp and DuraSeal splice sleeve to form a splice with more than 2 wires coming together.
  3. Cut as little wire off the harness as possible. You may need the extra length of wire in order to change the location of a splice.
  4. Adjust splice locations so that each splice is at least 40 mm (1.5 in) away from the other splices, harness branches, or connectors.

  5. Strip the insulation:
  6. • When adding a length of wire to the existing harness, use the same size wire as the original wire.
    • Perform one of the following items in order to find the correct wire size:
       - Find the wire on the schematic and convert to regional wiring gauge size.
       - If you are unsure of the wire size, begin with the largest opening in the wire stripper and work down until achieving a clean strip of the insulation.
    • Strip approximately 5.0 mm (0.20 in) of insulation from each wire to be spliced.
    • Do not nick or cut any of the strands. Inspect the stripped wire for nicks or cut strands.
    • If the wire is damaged, repeat this procedure after removing the damaged section.
  7. For high temperature wiring, slide a section of high temperature SCT1 shrink tubing over the length of wire to be spliced. Ensure that the shrink tubing will not interfere with the splice procedure.
  8. Select the proper DuraSeal splice sleeve according to the wire size. Refer to the above table at the beginning of the repair procedure for the colour coding of the DuraSeal splice sleeves and the crimp tool nests.

  9. 2414855
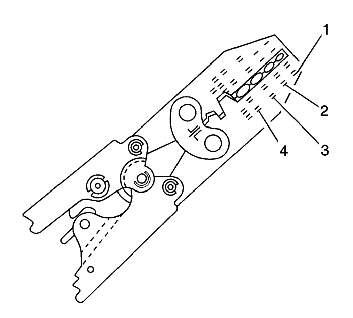
  10. The EL-38125-10 splice sleeve crimping tool has four crimp nests. The largest crimp nest (4) is used for crimping 10 and 12 gauge wires. The second largest crimp nest (3) is used for crimping 14 and 16 gauge wires. The third largest crimp nest (2) is used for crimping 18 and 20 gauge wires. The smallest crimp nest (1) is used for crimping 22 to 26 gauge wires. The crimp nests are referenced in the table (farther above) under the crimp tool nest color.

  11. 68642
  12. The J-38125-8 splice sleeve crimping tool has three crimp nests. The largest crimp nest (3) is used for crimping 10 and 12 gauge wires. The second largest crimp nest (2) is used for crimping 14 and 16 gauge wires. The smallest crimp nest (1) is used for crimping 18 to 20 gauge wires. The crimp nests are referenced in the table (farther above) under the crimp tool nest color.
  13. Use the splice sleeve crimping tool in order to position the DuraSeal splice sleeve in the correct colour nest of the splice sleeve crimping tool. For the four crimp nest tool, use the three largest crimp nests to crimp the splice sleeves. For the three crimp nest tool, use all three crimp nests to crimp the splice sleeves. Use the four and three crimp tool diagrams (above) and the table (farther above) to match the splice sleeve with the correct crimp nest. The crimp tool diagram call-out numbers match the numbers in the table (under crimp tool nest colour).

  14. 68639
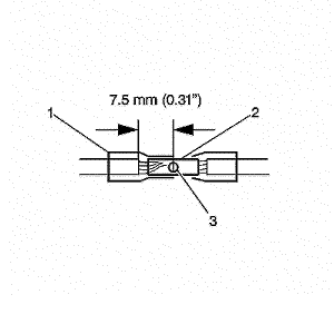
  15. Place the DuraSeal splice sleeve in the nest. Ensure that the crimp falls midway between the end of the barrel and the stop. The sleeve has a stop (3) in the middle of the barrel (2) in order to prevent the wire (1) from going further. Close the hand crimper handles slightly in order to firmly hold the DuraSeal splice sleeve in the proper nest.

  16. 9502
  17. Insert the wire into the splice sleeve barrel until the wire hits the barrel stop.
  18. Tightly close the handles of the crimp tool until the crimper handles open when released.
  19. The crimper handles will not open until you apply the proper amount of pressure to the DuraSeal splice sleeve. Repeat steps 4 and 6 for the opposite end of the splice.


    9503
  20. Using the heat torch, apply heat to the crimped area of the barrel.
  21. Start in the middle and gradually move the heat barrel to the open ends of the tubing:
  22. • The tubing will shrink completely as the heat is moved along the insulation.
    • A small amount of sealant will come out of the end of the tubing when sufficient shrinkage is achieved.

High Temperature Wiring Repairs

Use the following procedures to perform high temperature wiring repairs:

  1. Centre the high temperature SCT1 shrink tube over the DuraSeal splice sleeve.
  2. Using the heat torch, apply heat to the high temperature heat shrink tubing.
  3. Gradually move the heat from the centre to the open end of the tubing:
  4. • The tubing will shrink completely as the heat is moved along the insulation.
    • A small amount of sealant will come out of the end of the tubing when sufficient shrinkage is achieved.
  5. Replace any reflective tape and clips that may have been removed during the repair.
   


© Copyright Chevrolet. All rights reserved