To the top of the document
Cruze
   
GMDE Start Page Load static TOC Load dynamic TOC Help?

Torque Converter Diagnosis

Torque Converter Stator

The torque converter stator roller clutch can have two different malfunctions.

    • The stator assembly freewheels in both directions.
    • The stator assembly remains locked up in both directions.

Poor Acceleration at Low Speed - Stator Roller Clutch Freewheels at All Times

If the stator is freewheeling at all times, the vehicle tends to have poor acceleration from a standstill and at speeds below 48-55 km/h (30-34 mph). At speeds above 48-55 km/h (30-34 mph), the car may act normally.

For poor acceleration, you should first determine that the exhaust system is not blocked, and the transmission is in First gear when starting out. If the engine freely accelerates to high RPM in NEUTRAL, you can assume that the engine and the exhaust system are normal. Check for poor performance in DRIVE and REVERSE to help determine if the stator is freewheeling at all times.

Poor Acceleration at High Speed - Stator Roller Clutch is Locked Up at All Times

If the stator is locked up at all times, performance is normal when accelerating from a standstill. Engine RPM and vehicle speed are limited or restricted at speeds above 48-55 km/h (30-34 mph). Visual examination of the converter may reveal a blue colour from overheating.

Torque Converter Bearing Noise

Note: Do not confuse this noise with pump whine noise, which is usually noticeable in all gear ranges. Pump whine will vary with line pressure.

Torque converter whine is noticed when the vehicle is stopped and the transmission is in DRIVE or REVERSE. This noise will increase as you increase the engine RPM. The noise will stop when the vehicle is moving or when you apply the torque converter clutch, because there is no slip speed across the bearings.

Perform a stall test to make sure the noise is actually coming from the converter:

  1. Place your foot on the brake.
  2. Put the gear selector in DRIVE.
  3. Caution: You may damage the transmission if you depress the accelerator for more than 6 seconds.

  4. Depress the accelerator to approximately 1,200 RPM for no more than 6 seconds.

A torque converter noise will increase under this load.

Torque Converter Clutch

The torque converter clutch (TCC) is applied by fluid pressure, which is controlled by a pulse width modulated (PWM) solenoid valve. This solenoid is part of the control solenoid valve assembly, which is located inside the automatic transmission assembly. The solenoid is controlled through a combination of computer controlled switches and sensors. Electronically controlled capacity clutch (ECCC) is controlled slip across the TCC.

Torque Converter Clutch Shudder

The key to diagnosing torque converter clutch (TCC) shudder is to note when it happens and under what conditions. TCC shudder should only occur during the apply, release, or ECCC conditions of the converter clutch. Shudder should never occur after the TCC is fully locked (approximately 0 RPM slip).

If Shudder Occurs During TCC Apply, Release, and ECCC

If the shudder occurs while the TCC is applying, the problem can be within the transmission or the torque converter. Something is causing one of the following conditions to occur:

    • The clutch is not engaging completely.
    • The clutch is not engaging completely.
    • The clutch is releasing and applying rapidly and continuously.

One of the following conditions may be causing the TCC Shudder to occur:

    • Leaking turbine shaft/TCC seals
    • A restricted release orifice
    • A distorted clutch or converter cover due to long flexplate to converter bolts
    • Defective friction material on the TCC plate

If Shudder Occurs After TCC has Locked

Engine problems may go unnoticed under light throttle and load, but they become noticeable after the TCC has locked when going up a hill or accelerating.

Refer to Symptoms - Engine Controls (1.6L LDE or 1.8L) in order to avoid misdiagnosis of TCC judder and the unnecessary disassembly of a transmission or the unnecessary replacement of a torque converter.

Torque Converter Vibration Test

Note: The Noise and Vibration Analysis procedure should be performed prior to performing this test.

Indexing Torque Converter

To determine and correct a torque converter vibration, the following procedure may have to be performed several times to achieve the best possible torque converter to flexplate balance.

  1. Remove the torque converter bolts.
  2. Rotate the torque converter one bolt position from the original marked position.
  3. Caution: Refer to Fastener Caution in the Preface section.


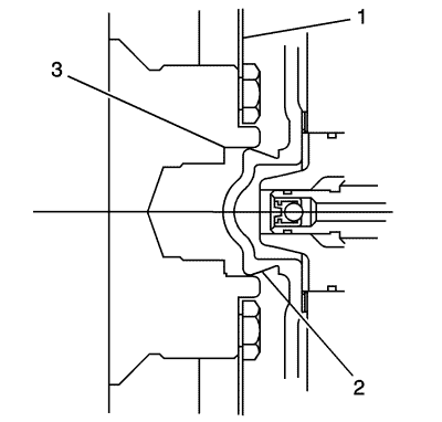
    572368

    Caution: When installing the torque converter to the flexplate, make sure to use specified bolts. DO NOT use longer bolts. Using longer bolts will result in deformation of the torque converter cover and cause internal damage.

  4. Align the torque converter pilot (2) in the engine crankshaft (3). Install the torque converter to flexplate bolts, and tighten according to Fastener Tightening Specifications : 6T30 → 6T40/45 .
  5. Lower the vehicle.
  6. With the engine at idle speed and the transmission in PARK or NEUTRAL, observe the vibration.
  7. Repeat this procedure until the best possible balance is obtained.

  8. Install the torque converter access cover and bolts (if equipped) and tighten according to Fastener Tightening Specifications : 6T30 → 6T40/45 .

Torque Converter Replacement

Condition

Action

    • Transmission Fluid Oxidised/Discoloured
    • Clutch Fibre Material

Do not replace the torque converter.

Refer to Transmission Fluid Level and Condition Check .

Transmission Fluid Contaminated with swarf

Note: Do not replace the torque converter for clutch system or gearset component damage. Fine swarf or clutch plate material that is suspended in the fluid will not cause damage to the internal torque converter components nor any internal transmission components.

Harsh Gear Shifts

Do not replace the torque converter.

Refer to Symptoms - Automatic Transmission .

Noise-Whine

    • Refer to Symptoms - Automatic Transmission .
    • Do not replace the torque converter if noise is present in Neutral/Park. Refer to Symptoms - Engine Mechanical (1.6L LDE or 1.8L).

Vibration-Out of Balance

Refer to Torque Converter Vibration Test in this procedure.

No Drive/Slips in Drive

Do not replace the torque converter until completing all engine and transmission diagnostics.

Idle Surge/Rough Idle

Do not replace the torque converter.

Refer to Symptoms - Engine Controls (1.6L LDE or 1.8L).

TCC Apply/Release Shudder

Do not replace the torque converter.

Refer to Torque Converter Clutch Shudder in this procedure.

TCC Chuggle

Do not replace the torque converter.

Refer to Symptoms - Engine Controls (1.6L LDE or 1.8L).

DTC P0741-TCC Stuck OFF/High Slip-Intermittent Only

Do not replace the torque converter.

Refer to DTC P0741 or P0742 diagnostic table.

DTC P0741-TCC Stuck OFF/High Slip

Do not replace the torque converter.

Refer to DTC P0741 or P0742 diagnostic table.

DTC P0742-TCC Stuck ON

Do not replace the torque converter.

Refer to DTC P0741 or P0742 diagnostic table.

Transmission Fluid Contaminated with Sludge/Metal Particles as a result of:

    • Engine Coolant/Oil
    • Pump damage
    • Drive sprocket support damage
    • Turbine/stator shaft damage
    • Internal converter damage with no damage found in the transmission

Replace the torque converter.

Poor Acceleration above 48 km/h (30 mph) - Good Launch

Do not replace the torque converter until completing all engine and transmission diagnostics.

    • Refer to Torque Converter Stator in this procedure.
    • Refer to Symptoms - Engine Controls (1.6L LDE or 1.8L).

Poor Launch - Good Acceleration above 48 km/h (30 mph)

Do not replace the torque converter until completing all engine and transmission diagnostics.

    • Refer to Torque Converter Stator in this procedure.
    • Refer to Symptoms - Engine Controls (1.6L LDE or 1.8L).

Stripped Converter Bolt Holes

    • Replace the torque converter.
    • Inspect flex plate and refer to Lower Engine Noise, Regardless of Engine Speed (1.6L or 1.8L).

Torque Converter Pilot Damaged

Replace the torque converter.

Torque Converter Hub surface is damaged - scored, raised/transferred metal.

Replace the torque converter.

External Leaks in the weld areas - hub, lug or closure weld.

Replace the torque converter.

Broken/Cracked Flexplate

Replace the torque converter.

Torque Converter Discoloured/Overheated

Replace the torque converter.

   


© Copyright Chevrolet. All rights reserved