To the top of the document
Cruze
   
GMDE Start Page Load static TOC Load dynamic TOC Help?

Brake System Internal Leak Test

Warning: Refer to Brake Fluid Irritant Warning in the Preface section.

Caution: Refer to Brake Fluid Effects on Paint and Electrical Components Caution in the Preface section.

  1. Start the engine and allow it to idle.
  2. Apply light, steady pressure to the brake pedal. Observe both the brake pedal feel and travel.
  3. Release the brakes and turn OFF the ignition.
  4. If the brake pedal apply felt spongy, but the brake pedal travel was not excessive, perform the following steps:
  5. 4.1. Inspect the brake system for external leaks. Refer to Brake System External Leak Inspection .
    4.2. Pressure bleed the brake system in order to purge any air that may be trapped in the system. Refer to Hydraulic Brake System Bleeding .

    681115
  6. If the brake pedal apply did not feel spongy, but the brake pedal travel was excessive, perform the following steps:
  7. 5.1. Loosen the master cylinder-to-brake power booster mounting nuts.
    5.2. Carefully pull the master cylinder away from the brake power booster just enough to inspect the mounting surface of the master cylinder.
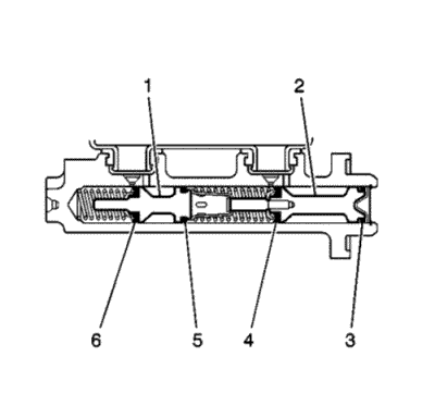
    5.3. Inspect the master cylinder mounting surface at the primary piston (2) for brake fluid leaks.
  8. If the master cylinder exhibits any leakage around the primary piston (2), then the primary piston primary seal (4) and/or secondary seal (3) is leaking and the master cylinder requires overhaul or replacement.
  9. If the master cylinder primary piston (2) does not exhibit any leakage, pressure bleed the brake system. Refer to Hydraulic Brake System Bleeding .
  10. If the brake pedal apply did not feel spongy, and the brake pedal travel was initially steady and not excessive, but then gradually fell, then the master cylinder requires overhaul or replacement due to an internal leak past the secondary piston (1) from the secondary piston primary seal (6) or secondary seal (5).
  11. If the brake pedal apply did not feel spongy, and the brake pedal travel was initially steady and not excessive, then fell slightly, then became steady again, then the brake pressure modulator valve (BPMV) may be leaking internally, and may require replacement.
   


© Copyright Chevrolet. All rights reserved